








Similar Products
Vetro 560
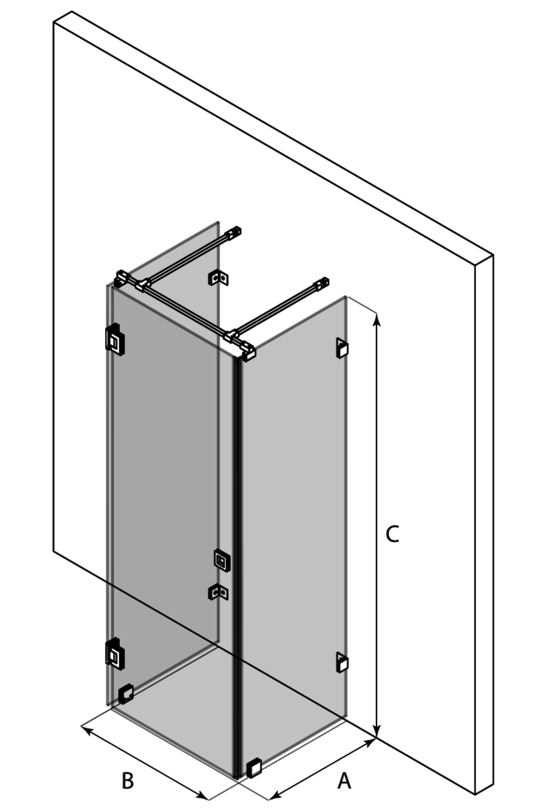
U-shaped enclosure with two fixed walls and a hinged door
The enclosure consists of two fixed walls on the sides and a hinged door. The product is assembled with hinges on all corners to create a frameless look.
Fixed walls are attached to the wall of the building from the sides by means of wall mountedfittings and supported from the top edge by the braces installed in the corners as well as from the bottom edge by the fitting glued to the floor. Between the panels of the fixed walls and the floor will be a 25mm high gap. Between the panel and the floor may be installed seal (standard part)s , so that water will not be able to flow under the panels. At the bottom edge of the door panel can be installed which restricts the flow of water. Installation guide
20 Working days
20 year warranty
The fittings used in the product, like square foot and brace bars, are manufactured of brass alloy. Surface treatment options is chrome plated.
The product is manufactured of 8 mm thick tempered safety panel (EN 12150). Glassoptions are Transparent, grey, brown, satin, super bright and black. One side of the satin glasses is etched to acquire a velvety feel and the other side is smooth. When choosing a satin glass product, bear in mind that the etched surface of the panel is sensitive to scratches and stains. The black glass is slightly see through in heavy light and almost nontransparent if the space is darker. The super bright glasses are manufactured with the iron removed, thus removing most of the green tint that glasses naturally have. Please note, that productpictures of satin glass use super bright satin of which an offer can be calculated via our customer srevice. All glasses can be treated in the factory with a Cranith calcification prevention coating. The coating enables the panel to stay clean easier.
The size of the unit can be selected from the standard dimensions, A : 500/600/700/800/900, B : 607/707/807/907, C : 2000, or it can be manufactured according to custom dimensions.
Product size
:

If the size of the door exceeds 1.7m2 an additional hinge is necessary to provide additional support. The product is supplied as standard with a 28mm high floor seal. The optional accessories are a 50mm high floor seal for shower areas where the floor tilting is higher than normal. The length of the floor seal is 1000mm and it is cut to a suitable length on site.
Product
Product code
Price
1
Vetro 560
Product code
560-21-000
Price
1980.00 €
2
Fixed screen
Chrome/Transparent=605 x 2000
Product code
530 21 0000
Price
0.00 €
3
Hinged door
Chrome/Transparent=676 x 2000
Product code
531 21 1000
Price
0.00 €
4
Handle side panel
Chrome/Transparent=578 x 2000
Product code
532 21 0000
Price
0.00 €
5
Support bar
Product code
90B 2L MMMM
Price
0.00 €
6
Magnet seal pair
Product code
915 2L 0000
Price
0.00 €
7
Vetro round handle
Product code
Y45 2L MMMM
Price
0.00 €
8
Spring sale -25% 14.4.-17.5.2025
Product code
DISCOUNT
Price
-495.00 €
9
TOTAL
Product code
Price
1485.00 €
:
| EAN: |
|---|



