










Forma 385
Folding shower door with a fixed part and magnet lock
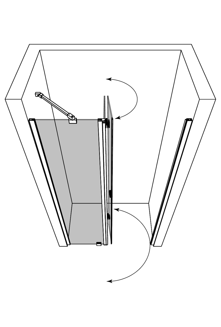
The shower screen consisting of a fixed part and of a hinged part hinged to it protects the space and the fixtures located next to the shower from splashing water. The fixed part efficiently restricts water and when the shower is not in use, the folding part can be folded into the little space inside the shower area in the direction of the building wall. Due to the combination of the fixed and the folding part the shower screen can be dimensioned even in cramped spaces so that the folding part does not hit other fixtures. The folding part of the shower door rotates 90 degrees in both directions and is equipped with adjustable centring. The centring attempts to return the folding part back to the open and closed positions. The outermost panel of the folding part rotates 180 degrees , in addition to the outer panel in relation to the inner panel of the folding part, so that the panels fold against each other into the inside portion of the shower area. The door has a magnet seal that locks tightly to its counterpart when the shower is in use.
The shower door and the wall magnet are mounted to the building wall by means of wall mountedprofiles. The fixed wall is supported from the top edge with the brace installed in the corner and from the bottom corner by the fitting glued to the floor. Between the panel of the fixed part and the floor will be a 25mm high gap. seal (standard part)s may be installed between the panel and the may be installed a seal (standard part) , so that water will not be able to under the panel. In the bottom edge of the panels of the folding part can be installed can be installed along the bottom edge of the door panel.Installation guide
7 Working days
20 year warranty
The profiles mounted to the edges of the panel are manufactured of aluminium. The White (RAL 9016),Black (RAL 9005), Sand (RAL 1019), Mocha (RAL 8025) and Cocoa (RAL 8019) surface treatment options are manufactured by powder coating. Aluminium is an anodized profile color. Profiles are sandblasted before anodization, so that the surface is as smooth as possible and there will be no fingerprints. The fittings used in the product, like square foot and brace bars, are made of brass alloy and correspond with the chosen profile color. Painted profiles have painted fittings, Aluminium profiles have Chrome plated fittings.
The product is manufactured of 6mm thick tempered safety panel (EN 12150). The safety panel can be treated in the factory with Cranith calcification prevention coating. The coating enables the panel to stay clean easier. Clear, superclear, grey and bronze are smooth surfaced and transparent glasses. Chinchilla, satin, greysatin, brownsatin, superclear satin and reeded glasses are not fully transparent, details cannot be made out through the panel. Chinchilla and reeded are textured on one side and smooth on the other side. One side of the satin panel is etched to acquire a velvety feel and the other side is smooth. When choosing one of the satin panel products, bear in mind that the etched surface of the panel is sensitive to scratches and stains. Please note, that productpictures use the super clear satin image, standard satin may tint more into green
The size of the shower door can be selected from the standard dimensions or it can be manufactured custom dimensions. The wall mountedprofiles have the total of 35mm adjustment tolerance The adjustment range can be used for levelling any tilt of the building s walls as well as for accommodating the shower door into the installation opening. For the purposes of accommodating the fitting into the opening, one or more extension profiles extension profiles (optional accessory). One extension profile extends the width of the alcove fitting by 34mm and it can be grooved for example for the inlet of the surface water pipes.
Product size
The selected combination can be installed into the opening (L1) the width of which is:
- At is narrowest: 997mm
- At its widest: 1032mm
Dimensions may deviate from the declared values if adjustment tolerance must be used to level the tilt of the building s walls. Note! The parts of the combination can also be installed in the direction opposite to the direction shown in the layout.:

The product is supplied as standard with a 33 mm high floor seal. The optional accessories are a 50 mm high floor seal for shower areas where the floor tilting is higher than normal. The length of the floor seal is 1000 mm and it is cut to a suitable length on site. The watertight quality of the product can be improved by installing a step profile under the door. The step profile is cut into a suitable length on the side and glued to the floor. The height of a shaped step profile is 10 mm and its width is 16 mm.
Please select handle model:
Product
Product code
Price
1
Forma 385
Product code
385-61-11
Price
0.00 €
2
Shower door fixed part
White/Transparent/A=380 x 2025
Product code
304 61 0038
Price
345.00 €
3
Shower door folding part
White/Transparent/B=617 x 2025
Product code
305 61 0056
Price
485.00 €
4
Wall magnet
Product code
329 6L 1001
Price
105.00 €
5
Polished hole
Product code
Y57 RL MMMM
Price
0.00 €
6
Spring sale -25% 14.4.-17.5.2025
Product code
DISCOUNT
Price
-233.75 €
7
TOTAL
Product code
Price
701.25 €
The selected combination can be installed into the opening (L1) the width of which is:
- At is narrowest: 997mm
- At its widest: 1032mm
Dimensions may deviate from the declared values if adjustment tolerance must be used to level the tilt of the building s walls. Note! The parts of the combination can also be installed in the direction opposite to the direction shown in the layout.:
| EAN: |
|---|



